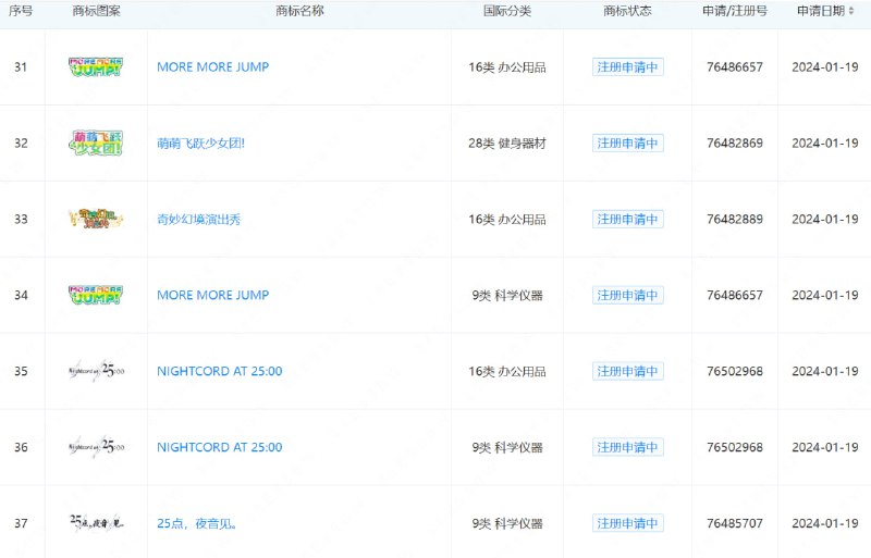
2024年6月进口网络游戏审批信息已出:
https://www.nppa.gov.cn/bsfw/jggs/yxspjg/jkwlyxspxx/202402/t20240202_831561.html
初音未来:缤纷舞台:北京朝夕光年信息技术有限公司
为了吾王:厦门百络信息技术有限公司
无畏契约:源能行动:申涎(上海)信息技术有限公司
关联新闻:
朝夕光年新负责人,字节游戏重跳动?
5月31日,字节跳动游戏业务发布内部信宣布最新人事调整。
前完美世界游戏业务总裁张云帆负责字节游戏,向华巍汇报。
早在5月13日,国外媒体彭博社就曾报道,字节跳动暂时搁置了出售游戏业务沐瞳科技的想法,并转而计划任命张云帆为沐瞳的新CEO。
如今,这一消息被官方正式确定:除沐瞳外,他还将接管朝夕光年和UGC(用户生产内容)部门。
https://m.huxiu.com/article/3088450.html
https://www.nppa.gov.cn/bsfw/jggs/yxspjg/jkwlyxspxx/202402/t20240202_831561.html
初音未来:缤纷舞台:北京朝夕光年信息技术有限公司
为了吾王:厦门百络信息技术有限公司
无畏契约:源能行动:申涎(上海)信息技术有限公司
关联新闻:
朝夕光年新负责人,字节游戏重跳动?
5月31日,字节跳动游戏业务发布内部信宣布最新人事调整。
前完美世界游戏业务总裁张云帆负责字节游戏,向华巍汇报。
早在5月13日,国外媒体彭博社就曾报道,字节跳动暂时搁置了出售游戏业务沐瞳科技的想法,并转而计划任命张云帆为沐瞳的新CEO。
如今,这一消息被官方正式确定:除沐瞳外,他还将接管朝夕光年和UGC(用户生产内容)部门。
https://m.huxiu.com/article/3088450.html
据国家安全部,近期,国家安全机关破获一起英国秘密情报局(MI6)策反我某中央国家机关工作人员王某某、周某夫妇的重大间谍案件。
2015 年,王某某申请参加中英交流项目赴英留学,MI6 看重其核心涉密岗位,迅速操作批准其申请。王某某抵英后,MI6特意安排有关人员对其特殊关照,邀请吃饭聚餐、参观游览,设法了解其性格弱点和爱好需求。
在掌握王某某有较强金钱欲望后,MI6 派遣人员以校友名义在校园内与其结识,声称可提供咨询兼职的机会,并可给付高额报酬。王某某在金钱利诱下,答应从事有偿咨询。英方以公开研究项目切入,逐步涉及到我中央国家机关内部核心情况,支付的报酬明显高于正常咨询费数倍。王某某对此虽有所警觉,但在大额金钱诱惑下,仍继续为英方提供所谓“咨询”服务。
经过一段时间后,英方评估认为条件成熟,便转介 MI6 人员对王某某亮明身份,要求其为英国政府服务,并允诺更高报酬和安全保障。王某某为谋求利益,答应了英方要求,履行了参谍手续。MI6 对王某某进行了专业的间谍培训,指挥其回国潜伏,搜集涉华重要情报。
王某某的妻子周某也在某核心要害单位工作,MI6 在认为已将王某某套牢的基础上,多次要求将其妻也一同拉下水,并允诺提供双倍报酬。王某某虽有所犹豫,但经不住英方反复劝说、利诱甚至威逼胁迫,最终同意。周某在王某某极力策动下,答应为英方搜集情报。至此,王某某夫妇一同沦为英方间谍。
目前,案件正在进一步侦办中。(总台央视记者宋琎)
2015 年,王某某申请参加中英交流项目赴英留学,MI6 看重其核心涉密岗位,迅速操作批准其申请。王某某抵英后,MI6特意安排有关人员对其特殊关照,邀请吃饭聚餐、参观游览,设法了解其性格弱点和爱好需求。
在掌握王某某有较强金钱欲望后,MI6 派遣人员以校友名义在校园内与其结识,声称可提供咨询兼职的机会,并可给付高额报酬。王某某在金钱利诱下,答应从事有偿咨询。英方以公开研究项目切入,逐步涉及到我中央国家机关内部核心情况,支付的报酬明显高于正常咨询费数倍。王某某对此虽有所警觉,但在大额金钱诱惑下,仍继续为英方提供所谓“咨询”服务。
经过一段时间后,英方评估认为条件成熟,便转介 MI6 人员对王某某亮明身份,要求其为英国政府服务,并允诺更高报酬和安全保障。王某某为谋求利益,答应了英方要求,履行了参谍手续。MI6 对王某某进行了专业的间谍培训,指挥其回国潜伏,搜集涉华重要情报。
王某某的妻子周某也在某核心要害单位工作,MI6 在认为已将王某某套牢的基础上,多次要求将其妻也一同拉下水,并允诺提供双倍报酬。王某某虽有所犹豫,但经不住英方反复劝说、利诱甚至威逼胁迫,最终同意。周某在王某某极力策动下,答应为英方搜集情报。至此,王某某夫妇一同沦为英方间谍。
目前,案件正在进一步侦办中。(总台央视记者宋琎)
Windows 11 更新 KB5037853 会破坏任务栏 还影响 Parallels 虚拟机
https://www.cnbeta.com.tw/articles/tech/1433015.htm
https://www.windowslatest.com/2024/05/31/windows-11-kb5037853-breaks-taskbar-fails-on-macbook-with-0x800f0845/ (英文)
遗憾的是,Windows 11 KB5037853 给一些用户带来了麻烦。在对支持文档的更新中,微软悄悄地确认它意识到了任务栏可能无法响应的问题。在我的一台设备上,每次尝试打开应用程序时,任务栏都会崩溃,图标也会闪烁。
https://www.cnbeta.com.tw/articles/tech/1433015.htm
https://www.windowslatest.com/2024/05/31/windows-11-kb5037853-breaks-taskbar-fails-on-macbook-with-0x800f0845/ (英文)
遗憾的是,Windows 11 KB5037853 给一些用户带来了麻烦。在对支持文档的更新中,微软悄悄地确认它意识到了任务栏可能无法响应的问题。在我的一台设备上,每次尝试打开应用程序时,任务栏都会崩溃,图标也会闪烁。
V社将收回CS2发布以来未登录过游戏的免费优先状态
以下方式获取的优先状态不受新规的影响:
- 通过荣耀认证(即通过完美世界国服等途径)获取的优先状态(2017.4.18--2021.2.10)
- 花钱购买的“优先状态升级”
- 通过 CDK 零售与捆绑包(如 Valve Complete Pack)获得的「CS:GO 完整版」
- 游戏完全免费以前通过Steam商店购买或以零售激活的方式获得的游戏「CS:GO 完整版」
受影响的 License :
https://keylol.com/t951284-1-1
以下方式获取的优先状态不受新规的影响:
- 通过荣耀认证(即通过完美世界国服等途径)获取的优先状态(2017.4.18--2021.2.10)
- 花钱购买的“优先状态升级”
- 通过 CDK 零售与捆绑包(如 Valve Complete Pack)获得的「CS:GO 完整版」
- 游戏完全免费以前通过Steam商店购买或以零售激活的方式获得的游戏「CS:GO 完整版」
受影响的 License :
CS:GO Prime Status (Free/Complimentary)https://keylol.com/t951284-1-1
🚀/duxiu 标示。从 Metadata 来看,涵盖了读秀2.0到5.0的版本。
https://t.me/annasarchiveorg/72
https://zh.annas-archive.org
近日有网友发现,知乎 robots.txt 文件已经在 4~5 月某个时候修改(具体时间可能是 5 月 22 日,与知乎强制登录时间近似),修改后仅允许百度搜索和搜狗取其内容。
知乎在几年前曾与百度达成合作,在百度搜索中优先显示知乎回答,不知道知乎是否已经与百度达成了新协议。
分析人士认为,此举可能是知乎为了避免自己的内容被抓取而被拿去训练AI。
蓝点网
关注频道 @ZaiHuaPd
频道投稿 @ZaiHuabot
🫥会员/Apple/Plus券合集️
@WatcherGuru
美國佛羅里達州一名退休男子 Randy Smith,35 年前因工作關係拍攝了一條 2 小時長的 Microsoft Word 教學影片,沒想到意外爆紅,原因是這條影片能帶來安眠功效,意外拯救無數失眠者,觀看次數已累積達 326 萬次。 據了解,該 Microsoft Word 教學影片長達 2 小時,2014 年被 Randy Smith 上載至 YouTube,命名為「史上最無聊影片」,10 年來累計觀看高達 326 萬次,有超過 1 萬條評論,不過影片大受歡迎的原因並非是網友想要學習 Microsoft Word,而是它有安眠效果,整條影片說話輕聲細語,你很難支撐著看完 2 小時沒入睡。 Randy Smith 表示,去年年底他收到陌生人短訊道謝他解決了失眠問題,這簡直令他不敢置信,要知道這條影片的 Microsoft Word 版本已經過時,竟然會有如何多的觀看次數,並且正不斷成長。 大量患有失眠者在影片下留言︰「我數不清這支影片幫助我入睡的次數,但是很感謝影片上架。」、「如果你是重度失眠者,請改用 0.25 倍慢速度觀看效果更佳。」
https://hkepc.com/22411
#读者投稿
https://hkepc.com/22411
#读者投稿
#今天又看了啥 #security #git #CVE
Exploiting CVE-2024-32002: RCE via git clone
A vulnerability in Git that allows RCE during a git clone operation. By crafting repositories with submodules in a specific way, an attacker can exploit symlink handling on case-insensitive filesystems to write files into the .git/ directory, leading to the execution of malicious hooks.
通过以特定的方式使用子模块制作存储库,攻击者可以利用不区分大小写的文件系统上的符号链接处理将文件写入 .git/ 目录,从而导致在 git clone 操作期间恶意钩子执行触发 RCE。
https://amalmurali.me/posts/git-rce/
PoC: https://github.com/amalmurali47/git_rce
Exploiting CVE-2024-32002: RCE via git clone
A vulnerability in Git that allows RCE during a git clone operation. By crafting repositories with submodules in a specific way, an attacker can exploit symlink handling on case-insensitive filesystems to write files into the .git/ directory, leading to the execution of malicious hooks.
通过以特定的方式使用子模块制作存储库,攻击者可以利用不区分大小写的文件系统上的符号链接处理将文件写入 .git/ 目录,从而导致在 git clone 操作期间恶意钩子执行触发 RCE。
https://amalmurali.me/posts/git-rce/
PoC: https://github.com/amalmurali47/git_rce
https://gitlab.archlinux.org/archlinux/rfcs/-/merge_requests/29#note_186477
国内高校镜像站反对 Archlinux RFC 29 草案的联署
tl;dr:该 RFC 草案为镜像站设置了许多不合理甚至不可能做到的要求,同时未解决任何现有问题。
国内高校镜像站反对 Archlinux RFC 29 草案的联署
tl;dr:该 RFC 草案为镜像站设置了许多不合理甚至不可能做到的要求,同时未解决任何现有问题。
5月18日 已暂停新库新版本的unpkg服务
5月19日 官方开启unpkg白名单机制
白名单申请
前端文件免费CDN收集