上海交通大学软件源镜像服务下架 DockerHub 镜像
上海交通大学软件源镜像服务发布公告称:
—— SJTUG 镜像
上海交通大学软件源镜像服务发布公告称:
非常遗憾,接上级通知,即时起我们将中止对 dockerhub 仓库的镜像。docker 相关工具默认会自动处理失效镜像的回退,如果对官方源有访问困难问题,建议尝试使用其他仍在服务的镜像源。
我们对给您带来的不便表示歉意,感谢您的理解与支持。
—— SJTUG 镜像
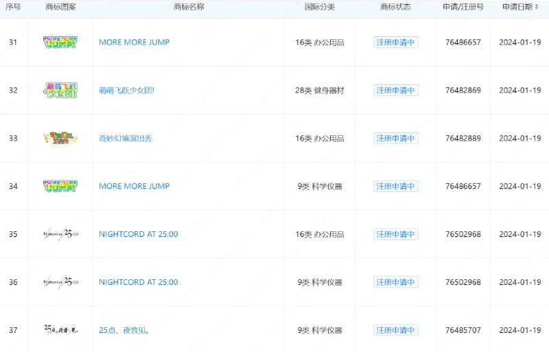
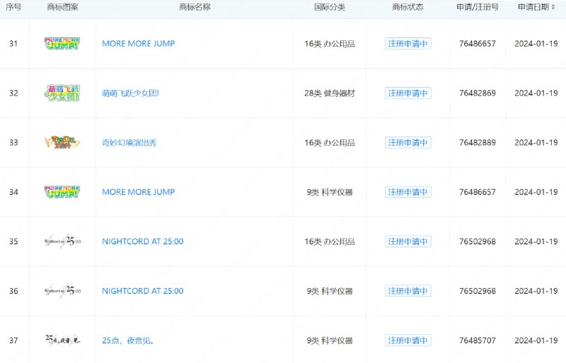
2024年6月进口网络游戏审批信息已出:
https://www.nppa.gov.cn/bsfw/jggs/yxspjg/jkwlyxspxx/202402/t20240202_831561.html
初音未来:缤纷舞台:北京朝夕光年信息技术有限公司
为了吾王:厦门百络信息技术有限公司
无畏契约:源能行动:申涎(上海)信息技术有限公司
关联新闻:
朝夕光年新负责人,字节游戏重跳动?
5月31日,字节跳动游戏业务发布内部信宣布最新人事调整。
前完美世界游戏业务总裁张云帆负责字节游戏,向华巍汇报。
早在5月13日,国外媒体彭博社就曾报道,字节跳动暂时搁置了出售游戏业务沐瞳科技的想法,并转而计划任命张云帆为沐瞳的新CEO。
如今,这一消息被官方正式确定:除沐瞳外,他还将接管朝夕光年和UGC(用户生产内容)部门。
https://m.huxiu.com/article/3088450.html
https://www.nppa.gov.cn/bsfw/jggs/yxspjg/jkwlyxspxx/202402/t20240202_831561.html
初音未来:缤纷舞台:北京朝夕光年信息技术有限公司
为了吾王:厦门百络信息技术有限公司
无畏契约:源能行动:申涎(上海)信息技术有限公司
关联新闻:
朝夕光年新负责人,字节游戏重跳动?
5月31日,字节跳动游戏业务发布内部信宣布最新人事调整。
前完美世界游戏业务总裁张云帆负责字节游戏,向华巍汇报。
早在5月13日,国外媒体彭博社就曾报道,字节跳动暂时搁置了出售游戏业务沐瞳科技的想法,并转而计划任命张云帆为沐瞳的新CEO。
如今,这一消息被官方正式确定:除沐瞳外,他还将接管朝夕光年和UGC(用户生产内容)部门。
https://m.huxiu.com/article/3088450.html
据国家安全部,近期,国家安全机关破获一起英国秘密情报局(MI6)策反我某中央国家机关工作人员王某某、周某夫妇的重大间谍案件。
2015 年,王某某申请参加中英交流项目赴英留学,MI6 看重其核心涉密岗位,迅速操作批准其申请。王某某抵英后,MI6特意安排有关人员对其特殊关照,邀请吃饭聚餐、参观游览,设法了解其性格弱点和爱好需求。
在掌握王某某有较强金钱欲望后,MI6 派遣人员以校友名义在校园内与其结识,声称可提供咨询兼职的机会,并可给付高额报酬。王某某在金钱利诱下,答应从事有偿咨询。英方以公开研究项目切入,逐步涉及到我中央国家机关内部核心情况,支付的报酬明显高于正常咨询费数倍。王某某对此虽有所警觉,但在大额金钱诱惑下,仍继续为英方提供所谓“咨询”服务。
经过一段时间后,英方评估认为条件成熟,便转介 MI6 人员对王某某亮明身份,要求其为英国政府服务,并允诺更高报酬和安全保障。王某某为谋求利益,答应了英方要求,履行了参谍手续。MI6 对王某某进行了专业的间谍培训,指挥其回国潜伏,搜集涉华重要情报。
王某某的妻子周某也在某核心要害单位工作,MI6 在认为已将王某某套牢的基础上,多次要求将其妻也一同拉下水,并允诺提供双倍报酬。王某某虽有所犹豫,但经不住英方反复劝说、利诱甚至威逼胁迫,最终同意。周某在王某某极力策动下,答应为英方搜集情报。至此,王某某夫妇一同沦为英方间谍。
目前,案件正在进一步侦办中。(总台央视记者宋琎)
2015 年,王某某申请参加中英交流项目赴英留学,MI6 看重其核心涉密岗位,迅速操作批准其申请。王某某抵英后,MI6特意安排有关人员对其特殊关照,邀请吃饭聚餐、参观游览,设法了解其性格弱点和爱好需求。
在掌握王某某有较强金钱欲望后,MI6 派遣人员以校友名义在校园内与其结识,声称可提供咨询兼职的机会,并可给付高额报酬。王某某在金钱利诱下,答应从事有偿咨询。英方以公开研究项目切入,逐步涉及到我中央国家机关内部核心情况,支付的报酬明显高于正常咨询费数倍。王某某对此虽有所警觉,但在大额金钱诱惑下,仍继续为英方提供所谓“咨询”服务。
经过一段时间后,英方评估认为条件成熟,便转介 MI6 人员对王某某亮明身份,要求其为英国政府服务,并允诺更高报酬和安全保障。王某某为谋求利益,答应了英方要求,履行了参谍手续。MI6 对王某某进行了专业的间谍培训,指挥其回国潜伏,搜集涉华重要情报。
王某某的妻子周某也在某核心要害单位工作,MI6 在认为已将王某某套牢的基础上,多次要求将其妻也一同拉下水,并允诺提供双倍报酬。王某某虽有所犹豫,但经不住英方反复劝说、利诱甚至威逼胁迫,最终同意。周某在王某某极力策动下,答应为英方搜集情报。至此,王某某夫妇一同沦为英方间谍。
目前,案件正在进一步侦办中。(总台央视记者宋琎)
Windows 11 更新 KB5037853 会破坏任务栏 还影响 Parallels 虚拟机
https://www.cnbeta.com.tw/articles/tech/1433015.htm
https://www.windowslatest.com/2024/05/31/windows-11-kb5037853-breaks-taskbar-fails-on-macbook-with-0x800f0845/ (英文)
遗憾的是,Windows 11 KB5037853 给一些用户带来了麻烦。在对支持文档的更新中,微软悄悄地确认它意识到了任务栏可能无法响应的问题。在我的一台设备上,每次尝试打开应用程序时,任务栏都会崩溃,图标也会闪烁。
https://www.cnbeta.com.tw/articles/tech/1433015.htm
https://www.windowslatest.com/2024/05/31/windows-11-kb5037853-breaks-taskbar-fails-on-macbook-with-0x800f0845/ (英文)
遗憾的是,Windows 11 KB5037853 给一些用户带来了麻烦。在对支持文档的更新中,微软悄悄地确认它意识到了任务栏可能无法响应的问题。在我的一台设备上,每次尝试打开应用程序时,任务栏都会崩溃,图标也会闪烁。
V社将收回CS2发布以来未登录过游戏的免费优先状态
以下方式获取的优先状态不受新规的影响:
- 通过荣耀认证(即通过完美世界国服等途径)获取的优先状态(2017.4.18--2021.2.10)
- 花钱购买的“优先状态升级”
- 通过 CDK 零售与捆绑包(如 Valve Complete Pack)获得的「CS:GO 完整版」
- 游戏完全免费以前通过Steam商店购买或以零售激活的方式获得的游戏「CS:GO 完整版」
受影响的 License :
https://keylol.com/t951284-1-1
以下方式获取的优先状态不受新规的影响:
- 通过荣耀认证(即通过完美世界国服等途径)获取的优先状态(2017.4.18--2021.2.10)
- 花钱购买的“优先状态升级”
- 通过 CDK 零售与捆绑包(如 Valve Complete Pack)获得的「CS:GO 完整版」
- 游戏完全免费以前通过Steam商店购买或以零售激活的方式获得的游戏「CS:GO 完整版」
受影响的 License :
CS:GO Prime Status (Free/Complimentary)https://keylol.com/t951284-1-1
🚀/duxiu 标示。从 Metadata 来看,涵盖了读秀2.0到5.0的版本。
https://t.me/annasarchiveorg/72
https://zh.annas-archive.org
近日有网友发现,知乎 robots.txt 文件已经在 4~5 月某个时候修改(具体时间可能是 5 月 22 日,与知乎强制登录时间近似),修改后仅允许百度搜索和搜狗取其内容。
知乎在几年前曾与百度达成合作,在百度搜索中优先显示知乎回答,不知道知乎是否已经与百度达成了新协议。
分析人士认为,此举可能是知乎为了避免自己的内容被抓取而被拿去训练AI。
蓝点网
关注频道 @ZaiHuaPd
频道投稿 @ZaiHuabot
🫥会员/Apple/Plus券合集️
@WatcherGuru
美國佛羅里達州一名退休男子 Randy Smith,35 年前因工作關係拍攝了一條 2 小時長的 Microsoft Word 教學影片,沒想到意外爆紅,原因是這條影片能帶來安眠功效,意外拯救無數失眠者,觀看次數已累積達 326 萬次。 據了解,該 Microsoft Word 教學影片長達 2 小時,2014 年被 Randy Smith 上載至 YouTube,命名為「史上最無聊影片」,10 年來累計觀看高達 326 萬次,有超過 1 萬條評論,不過影片大受歡迎的原因並非是網友想要學習 Microsoft Word,而是它有安眠效果,整條影片說話輕聲細語,你很難支撐著看完 2 小時沒入睡。 Randy Smith 表示,去年年底他收到陌生人短訊道謝他解決了失眠問題,這簡直令他不敢置信,要知道這條影片的 Microsoft Word 版本已經過時,竟然會有如何多的觀看次數,並且正不斷成長。 大量患有失眠者在影片下留言︰「我數不清這支影片幫助我入睡的次數,但是很感謝影片上架。」、「如果你是重度失眠者,請改用 0.25 倍慢速度觀看效果更佳。」
https://hkepc.com/22411
#读者投稿
https://hkepc.com/22411
#读者投稿